Торцева пластина
Сфера застосування: на торцях скату для захисту підпокрівельного простору від вологи.
Особливості монтажу: монтується на торцеві краї даху із напуском у 5 см. Планка повинна перекривати не менше половини хвилі профілю. Кріплення здійснюється збоку та зверху. Для цих цілей оптимально використовувати оцинковані покрівельні саморізи із EPDM прокладкою.

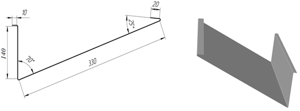
Коник
Сфера застосування: верхні ребра даху для захисту від потрапляння води під покрівлю.
Особливості монтажу: коникові саморізи закріплюються у кожну другу хвилю профілю з перекриттям не менше 5 см. Між листом металочерепиці та планкою коника рекомендується використати утеплювач.

Снігозатримувач
Сфера застосування: унеможливлює лавинне сходження снігу із даху.
Особливості монтажу: розміщення елементів здійснюється в один або два ряди у шаховому порядку вздовж карнизу. Перший ряд розміщується на відстані не більшій, аніж 0,6 м від карнизу, другий – 0,35-0,7 м від першого. Фіксується снігозатримувач саморізами у гребінь хвилі металочерепиці. Існує також і посилений варіант кріплення: встановлюється додатковий кут жорсткості, і снігозатримувач кріпиться до обрешітки.

Снігозатримувач «Підкова»
Сфера застосування: унеможливлює лавинне сходження снігу із даху. Елемент схожий на підкову, має невеликі розміри, завдяки чому менше піддається сніговому навантаженню. Вірогідність того, що його зірве з покрівлі, мінімальна.
Особливості монтажу: розміщення елементів здійснюється в один або два ряди у шаховому порядку вздовж карнизу. Перший ряд розміщується на відстані не більшій, аніж 0,6 м від карнизу, другий – 0,35-0,7 м від першого. Якщо довжина схилу даху більше 5 м, необхідно облаштовувати додатковий ряд снігозатримувачів десь посередині.

Планка примикання
Сфера застосування: для герметичного з’єднання між покрівлею і стінами.
Особливості монтажу: між листом металочерепиці та планкою рекомендується прокласти утеплювач. Сама планка кріпиться до стіни дюбелями, а до покрівлі – покрівельними саморізами. По довжині планки укладаються із напуском не менше 5 см. Для додаткової герметизації можна використовувати силіконовий герметик.

Ендова
Сфера застосування: встановлюється у місцях внутрішніх стиків покрівлі для захисту від вологи і пилюки. Монтується під покрівельний матеріал.
Особливості монтажу: планки монтуються знизу вверх із напуском 15-20 см. Нижню планку обрізають нижче лінії карнизу і роблять на ній відбортування. Листи металочерепиці не повинні доходити до осьової лінії ендови 6-10 см з кожного боку. Для кріплення ендови можно застосовувати ті самі саморізи, що і для металочерепиці. Більше правильний варіант кріплення – із використанням фальцевого кріплення (кляммера).


Покриваюча планка
Сфера застосування: для запобігання потрапляння листя чи сміття під листи покрівлі. Прикриває всі обрізані краї у місцях внутрішніх стиків. Монтується на покрівельний матеріал.
Особливості монтажу: монтаж покриваючих планок здійснюється знизу вверх із напуском не менше 5 см. Закріпляються елементи до верхніх точок листів металочерепиці. Варто впевнитися у тому, що саморізи кріплення покриваючої планки не пошкодить раніше встановлену ендову.


Капельник 200
Сфера застосування: використовується для захисту країв крокв від вологи, а також підкровельної плівки від потрапляння прямих сонячних променів.
Особливості монтажу: монтується на крокви під контррейку із напуском 5 см.


Лобова 250
Сфера застосування: виконує декоративну функцію. Встановлюється на карниз даху.
Особливості монтажу: монтується на лобову дошку із напуском 2-3 см.


П-подібна планка
Сфера застосування: для захисту зрізів профнастилу.
Особливості монтажу: монтується на профнастил зверхну і по сторонам площини паркану.


Кутики внутрішній 100 і зовнішній 100
Сфера застосування: виконують декоративну функцію.
Особливості монтажу: встановлюються у місцях стику листів профнастилу між собою під кутом 90 градусів. Використовуються як при монтажі даху, так і при зведенні парканів.




Нижнє примикання до димоходу 500
Сфера застосування: для герметичного приєднання покрівлі до димоходу. Застосовується для металочерепиці.
Особливості монтажу: у місцях стику планок загинаємо відігнуті краї. По периметру димоходу вирізаємо паз глибиною 10 мм і вставляємо в нього загин планки. Додатково герметизуємо.


Верхнє примикання до димоходу 250
Сфера застосування: для герметичного приєднання покрівлі до димоходу. Укладається на металочерепицю.
Особливості монтажу: у місцях стику планок загинаємо відігнуті краї. По периметру димоходу вирізаємо паз глибиною 10 мм і вставляємо в нього загин планки. Додатково герметизуємо.



Нижня планка стику
Сфера застосування: в місцях нижнього перелому покрівлі.
Особливості монтажу: кріпиться саморізами безпосередньо до обрешітки верхнього схилу після того, як повністю змонтований нижній схил. При монтажі рекомендується використовувати ущільнювач.


Верхня планка стику
Сфера застосування: в місцях верхнього перелому покрівлі.
Особливості монтажу: кріпиться саморізами безпосередньо до обрешітки верхнього схилу після того, як повністю змонтований нижній схил. При монтажі рекомендується використовувати ущільнювач.


Відлив
Сфера застосування: віконні отвори, карнизи стін, цоколі фундаменту. Відлив запобігає потраплянню води всередині конструкції та приміщення.




